气象传感器-微型气象仪厂家价格型号 网站地图
气象传感器生产厂家

做微型气象仪,防爆气象传感器优良供应商

咨询热线:
13276363313
电话
土壤养分测定仪-恒美农业仪器
负氧离子传感器

负氧离子传感器

发布时间:2022-03-01 13:10:32

型号:TH-WQX5B

品牌:天游TY8检测中心

负氧离子传感器又称大气负氧离子传感器,一体式负氧离子传感器,负氧离子传感器不仅可以检测负氧离子浓度还能够检测空气温度、湿度、PM2.5、PM10,五中气象参数集成一体,安装方便,检测数据精准。

产品描述

一、负氧离子传感器产品简介

山东天游TY8检测中心环境科技有限公司作为专业研发生产销售微型气象仪的企业,一直致力于微型气象仪和气象环境解决方案推广应用。具有完整的生产链、实力雄厚的技术团队和全面的营销团队,我们研发生产的超声波风速风向仪、五要素微气象仪、六要素微气象仪和小型自动气象站等气象产品,已广泛应用到气象监测、城市环境监测、风力发电、航海船舶、航空机场、桥梁隧道等领域,客户遍布全国各地,并取得了良好的社会效益和经济效益。

TH-WQX5B型负氧离子传感器创新性地将负氧离子、空气温度、湿度、PM2.5、PM10等气象要素通过一个高集成度结构来实现,可实现户外气象参数24小时连续在线监测,通过数字量通讯接口将五项参数一次性输出给用户。


二、负氧离子传感器产品特点

1、抗干扰能力强,具有看门狗电路,自动复位功能,保证系统稳定运行

2、高集成度,无移动部件,零磨损

3、免维护,无需现场校准

4、采用ASA工程塑料室外应用常年不变色

5、产品设计输出信号标配为RS485通讯接口(MODBUS协议);可选配232、USB、以太网接口,支持数据实时读取☆

6、可选配无线传输模块,最小传输间隔1分钟

7、探头为卡扣式设计,解决了运输、安装过程松动不准的问题☆


三、负氧离子传感器技术参数

1)负氧离子:0~10万个/cm3,(读数±10%;离子迁移率≤±20%);

2)空气温度:-40℃~85℃(±0.3℃);

3)空气湿度:0~100%RH(±2%RH);

4)PM2.5:0-1000ug/m3(±15%)

5)PM10:0-1000ug/m3(±15%)


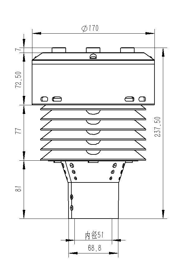
四、负氧离子传感器产品尺寸图

负氧离子传感器产品尺寸图

五、负氧离子传感器产品结构图


负氧离子传感器产品结构图


六、产品接线定义


 

定义


备注

VCC

电源正

DC12V

GND

电源地


485A

RS485A


485B

RS485B



文章地址:http://www.koreatale.com/jqqxcgq/329.html
返回
天游TY8检测中心

网站地图